This site has limited support for your browser. We recommend switching to Edge, Chrome, Safari, or Firefox.

Free shipping $30+ Get 20% off your first order

PATENT INFO

An idea so important for the planet, we patented it.

Why this matters:

Patents help ensure follow-through on sustainable innovations.

Sadly, over 95% of approved patents aren’t even made into anything!

Instead, individuals and companies often file patents with no intent to produce an actual product. Instead, the patent-holders remain waiting for up to 20 years, anticipating another company to inadvertently infringe on the idea triggering litigation for profit.

This practice is called patent squatting or trolling and unfortunately comprises of over 60% of all patent litigation.

As our new design was so disruptive to the soap industry, we were concerned about a large manufacturer obtaining a pre-emptive patent with no intent of product development to block this sustainable innovation from being brought to market.

We realized this was an important idea for the planet and invested significant time and resources to ensure it would be brought to market.

In an effort to help secure the continuation of the XO Bar, some of our patent development costs have been amortized into the cost of each bar.


Patent protections helps secure ongoing investment in environmental initiatives.

Our patent helps strengthen our mission to produce plastic-free, sustainable bath products.

This also allows us to focus our efforts on sustainable innovation and charitable actions, freeing us from spending costly resources protecting against knock-off products with inferior quality and sustainability practices.

PATENT DETAILS


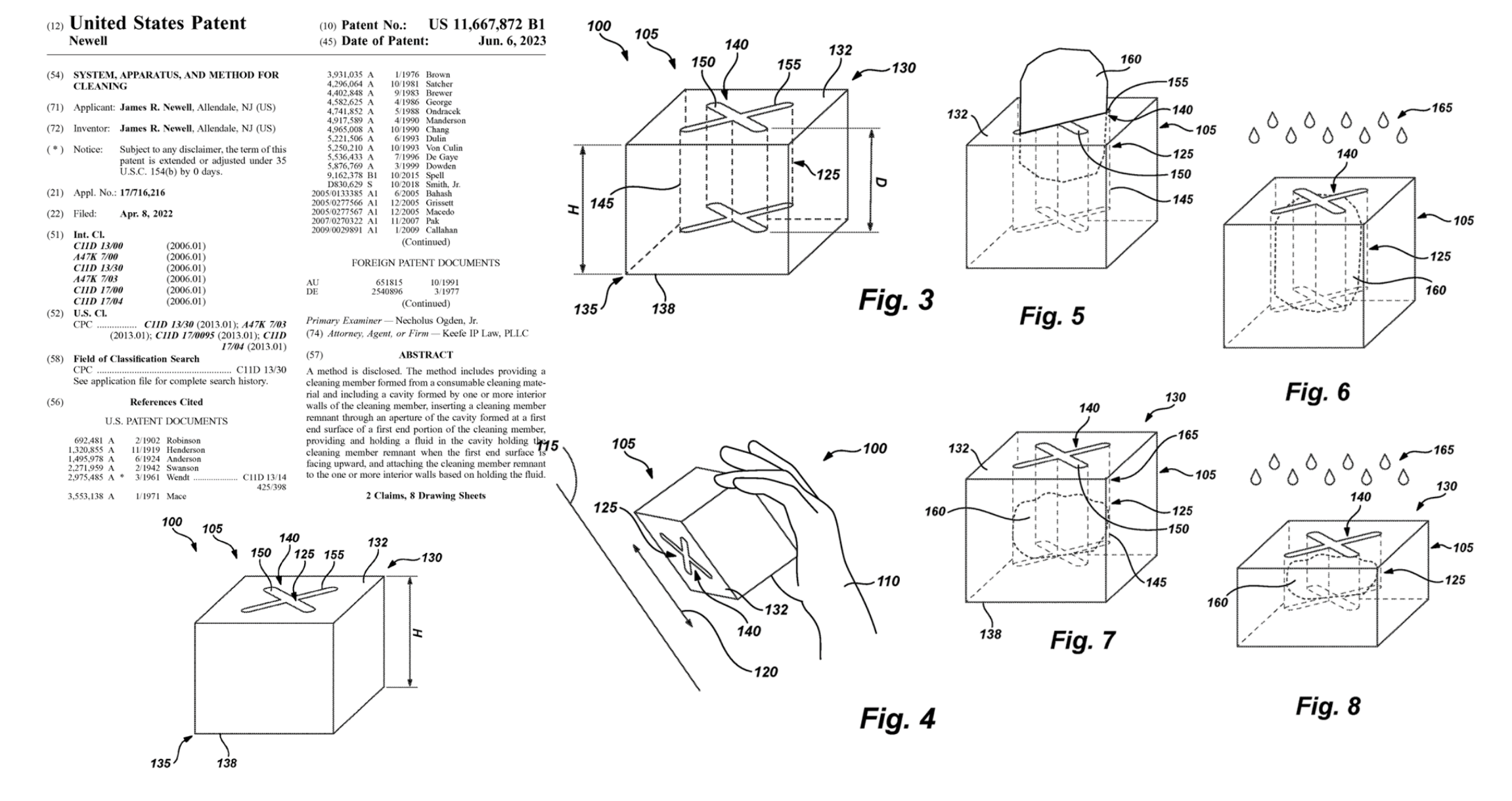
PATENT NUMBER: US11667872B1

Application granted: 06-06-2023
Patent active through: 04-08-2042


BACKROUND

Typical soap products involve significant waste and plastics that have a harmful effect on the environment after the soap product is used.

For example, liquid soap, shampoo, and conditioner typically are housed in plastic containers that are thrown away after use.

Some conventional systems exist for attempting to reduce plastic used in cleaning products and for re-using portions of bar soap. For example, conventional systems exist for attempting to add a remnant of a used soap bar to a new soap bar in order to avoid waste of soap remnants and slivers. However, conventional systems for attempting to reuse soap remnants suffer from the deficiencies discussed below...

Experience the unroutine shower.

Enjoy free shipping when you spend $30+

Use coupon code HELLOXO for 20% off your first order.

Cart

Congratulations! Your order qualifies for free shipping You are $30 away from free shipping.
No more products available for purchase